登入/註冊

加強近視控制之角膜塑型片

台灣
商機情報

-

關於
1.根據美國國家生物技術資訊中心 (NCBI) 2016 年發表的一項研究,近視當時影響全球 18.9 億人,預估到2030年近視/高度近視人口將分別達33.6億/5.16億人。2050 年近視/高度近視人口將分別影響 49.49 億(52%)和9.25 億(10%)人口。
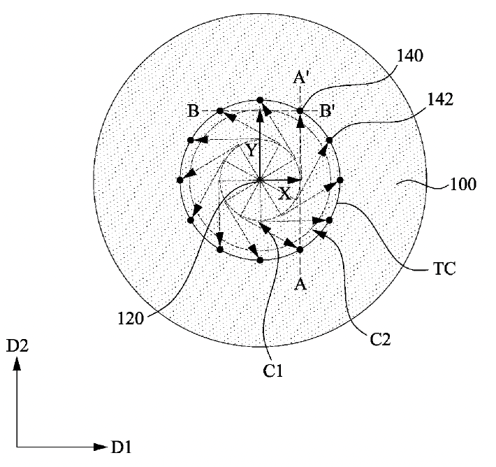
2.高度軸性近視與許多不可逆之視力喪失的眼科疾病相關,包括視網膜剝離、脈絡膜新生血管及黃斑部退化.本技術是一種加強近視控制效果的鏡片,其包括鏡片中心與標記,標記位於鏡片的表面上,其中鏡片是用於置於使用者的角膜前方並使標記對準使用者的瞳孔中心,標記相對於鏡片中心的水平偏心量為-1.8 mm至1.8 mm,標記相對於鏡片中心的垂直偏心量為-1.8 mm至1.8 mm。
特色優勢
1.首個將最佳角膜塑型片偏心量結果應用到臨床上的角膜塑型片治療,改變角膜塑型片的設計。
2.應用到改良角膜塑型片的設計後,針對沒有Pentacam可以使用的臨床醫師,也能簡單透過裂隙燈去確認偏心量是否符合最佳偏心位置。
詳細規格
中華民國專利
I813083
中國發明專利
202211440160.9
說明文件

詳細資訊
關於
1.根據美國國家生物技術資訊中心 (NCBI) 2016 年發表的一項研究,近視當時影響全球 18.9 億人,預估到2030年近視/高度近視人口將分別達33.6億/5.16億人。2050 年近視/高度近視人口將分別影響 49.49 億(52%)和9.25 億(10%)人口。
2.高度軸性近視與許多不可逆之視力喪失的眼科疾病相關,包括視網膜剝離、脈絡膜新生血管及黃斑部退化.本技術是一種加強近視控制效果的鏡片,其包括鏡片中心與標記,標記位於鏡片的表面上,其中鏡片是用於置於使用者的角膜前方並使標記對準使用者的瞳孔中心,標記相對於鏡片中心的水平偏心量為-1.8 mm至1.8 mm,標記相對於鏡片中心的垂直偏心量為-1.8 mm至1.8 mm。
特色優勢
1.首個將最佳角膜塑型片偏心量結果應用到臨床上的角膜塑型片治療,改變角膜塑型片的設計。
2.應用到改良角膜塑型片的設計後,針對沒有Pentacam可以使用的臨床醫師,也能簡單透過裂隙燈去確認偏心量是否符合最佳偏心位置。
詳細規格
中華民國專利
I813083
中國發明專利
202211440160.9
說明文件

加強近視控制之角膜塑型片

台灣
長庚醫療財團法人 的其他產品
熱門推薦